

المربع نت – تولّي مازدا دائماً أولوية قصوى لتخفيف أوزان سيارتها بكل وسيلة ممكنة، ولاسيّما سياراتها الرياضية، إذ تشتهر MX-5 مياتا على سبيل المثال بوزنها المثالي الخفيف جداً بـ 1088 كيلوجرام فقط، ما يوفر تجربة قيادة وتحكم مدهشة لا نظير لها.
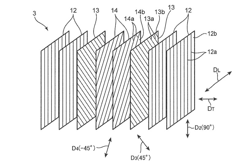
والآن يبدو أن مازدا ستأخذ خطوة أكثر جراءة وأهمية لتخفيف أوزان سياراتها الرياضية، وهي تطوير شاسيه مصنوع من ألياف الكربون خفيفة الوزن، وفق براءة اختراع سجلتها مازدا مؤخراً للتكنولوجيا اللازمة لبناء الشاسيه.
بالطبع تطوير المنصات والهياكل الكربونية خفيفة الوزن ليس بالأمر الجديد إذ تقوم شركات السيارات الخارقة مثل بوجاتي وباجاني وغيرها بهذه الخطوة بحرفية لامتناهية، ولكنها خطوة مفاجئة من طرف مازدا.

منصة كربونية لسيارة سيدان!
المدهش هنا أن مازدا لا تطور هذا الشاسيه لاستخدامه في سيارة كوبيه أو رودستر رياضية مثل MX-5 مياتا، بل يبدو أن استخدامه موجه لسيارة سيدان جديدة وفق الرسومات الفنية المرفقة مع براءة الاختراع، ولكن المنتج النهائي قد يختلف بشكل جذري بالطبع.
تسجيل براءة اختراع لا يعني بالضرورة أن مازدا ستنقل المشروع لأرض الواقع، وفي حالة نقله بالفعل، لا نعلم ما إذا كانت السيارة المبنية على الشاسيه الكربوني الجديد كهربائية أم مزودة بمحركات احتراق داخلي تقليدية، ربما بأنظمة هجينة لتحسين صرفية الوقود وخفض الانبعاثات.. كلها أسئلة لا إجابة عليها للوقت الحالي.


شاهد أيضاً:
اشترك بالقائمة البريدية
احصل على أخبار وأسعار السيارات أول بأول



















