
المربع نت – حصلت شاحنة فورد F-150 على العديد من النسخ المعدلة بست عجلات مع مظهر رياضي ضخم للغاية، والتي حصلت على اهتمام الكثير من محبي الشاحنات العضلية الضخمة، ما دفع فورد للبدء في العمل على إطلاق نسختها من فورد F-150 بست عجلات كما تكشف لنا براءة الاختراع الجديدة.
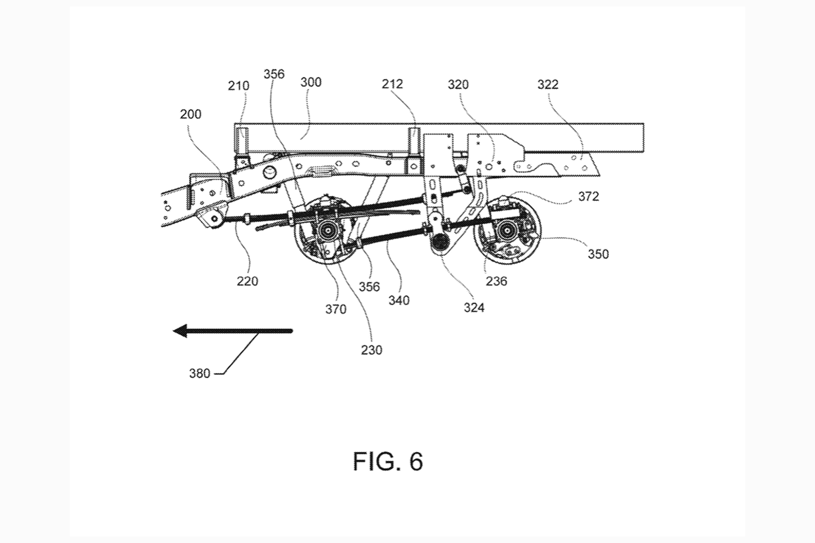
تشير براءة الاختراع الجديدة إلى طريقة مبتكرة من فورد لإضافة محور ثالث من العجلات بدون تعديل هيكل الشاحنة، ما يعني أن هذا التعديل قد يتوافر في وقت لاحق للشاحنات المباعة بالفعل من فورد لدى وكلاء العلامة المعتمدين بالعديد من الأسواق العالمية.
تشير فورد في براءة الاختراع الجديدة إلى إمكانية تثبيت المحور الثالث من العجلات ببضع من المسامير فقط بدون تغيرات جذرية على التصميم الحالي للشاحنة، ما يساعد في النهاية على خفض التكلفة الإنتاجية لشاحنات فورد 6X6 الجديدة.
بالرغم من بساطة التعديل لم تكشف فورد عن كيفية تعديل تصميم الصندوق الخلفي لاستيعاب الصف الثالث من العجلات الجديد، ولكن على الأرجح سوف يتم استبدال الصندوق الخلفي بواحد أكبر حجماً بتصميم يتناسب مع المحور الثالث من العجلات، خاصة مع تثبيت الصندوق الخلفي ببعض المسامير أيضاً مما يجعل عملية الاستبدال سهلة.

فورد قد تستعين بمحرك كهربائي لتعزيز قوة المحور الثالث من العجلات
نبدأ الآن في الجزء المشوق في براءة اختراع فورد الجديدة، والتي تشير إلى إمكانية تثبيت محرك كهربائي على المحور الثالث من العجلات لتعزيز قوة الشاحنة الضخمة الجديدة بدلاً من تركيز عزم الدوران على المحور الأمامي والثاني من العجلات، سوف يعتمد المحور الثالث على جزء من عزم الدوران من المحور الثاني بالإضافة إلى الطاقة الهجينة للمحرك الكهربائي الإضافي.
خلال الفترة الماضية شهدنا العديد من براءات الاختراع المثيرة للاهتمام من فورد والتي من الممكن أن تصبح حقيقة، خاصة بعد أن أصبحت فورد موستنج سيارة خارقة وتخطط لمنافسة طرازات خارقة شهيرة عالية الأداء، ما يعني أنه من الممكن أن نرى براءة الاختراع هذه تتحول إلى حقيقة خلال الأعوام القادمة.
*الصور الخاصة بنسخة فورد F-150 المعدلة بست عجلات تعود إلى شاحنة هينيسي فيلوتشي رابتر 6X6*
شاهد أيضاً:
اشترك بالقائمة البريدية
احصل على أخبار وأسعار السيارات أول بأول




























