

المربع نت – استبدل عدد من صانعي السيارات المرايا الجانبية بكاميرات تعرض فيديو حي لما يحدث بجانب السيارة وخلفها على شاشات خاصة داخل المقصورة، لكن يبدو أن بي ام دبليو ستنتهج نهجاً مختلفاً في الاستغناء عن المرايا الجانبية التقليدية.
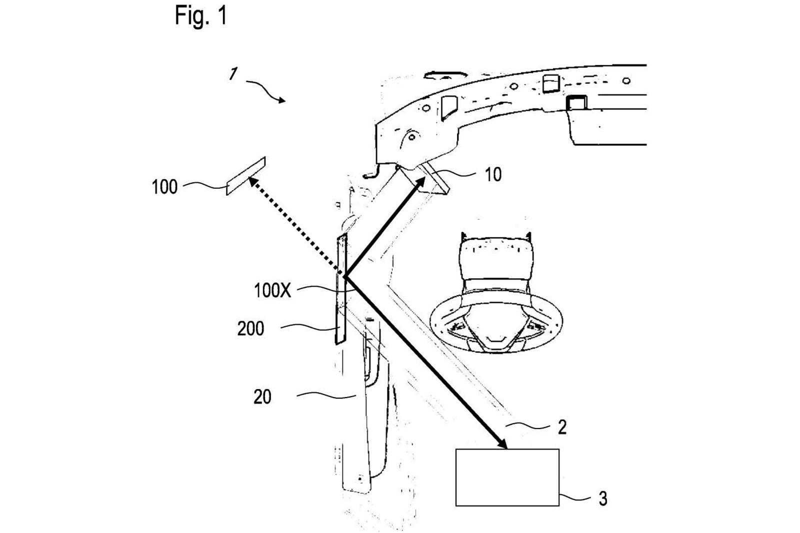
قدمت صانعة السيارات البافارية براءات اختراع تدل على تطويرها لتقنية المرآة الافتراضية الخاصة بها، والتي تحل محل المرايا الجانبية، والتي لن تعتمد على كاميرات جانبية، حيث لن يظهر الفيديو على شاشة داخل المقصورة، بل سيتم الاستعانة بمرآة شبه شفافة لعرض الطريق أمام أعين السائق.

تُظهر الصور أن المرآة الافتراضية ستؤدي إلى تقليل مقدار السحب لأنها ستكون أصغر من المرايا الجانبية التقليدية، ويُمكن أيضاً إظهار معلومات أخرى على شاشة المرآة الافتراضية مثل إرشادات الملاحة والمسافة بين السيارة المركبات القريبة وغير ذلك.
وإذا كنت تعتقد أن فتح النافذة سيُخرب التقنية، فينبغي أن تعلم أن قسم النافذة الذي يحتوي على المرآة شبه الشفافة لن يتحرك مع بقية النافذة، وهذه ليست المرة الأولى التي تختبر فيها بي ام دبليو التقنية الجديدة، ففي 2016 كشفت عن سيارة i8 Mirrorless الاختبارية مع كاميرات تحل محل المرايا الجانبية وشاشة مركزية بدلاً من مرآة الرؤية الخلفية.
وفي الختام، حتى الآن، ليس من الواضح متى تُخطط بي ام دبليو لإضافة تقنية المرآة المبتكرة هذه إلى سياراتها الإنتاجية، لكن من المحتمل ألا تصبح متاحة قبل سنوات لأنها ليست قانونية في بعض البلدان.








اشترك بالقائمة البريدية
احصل على أخبار وأسعار السيارات أول بأول



















